santé et soins de santé

Exemple De Pms

Preview Of One Chart Of The Free Pdf Doc Pantone Pms Chart With Rgb Html Conversions 35 Pages From Tidyform

Methodological Framework Of Vr Pms Download Scientific Diagram

Le Cardex Plus Qu Un Document Un Support De Relation Client

Physique Math Svt Terminale Pms Home Facebook

Pantone Pms 400 D1c9bd Schemas De Couleurs Hexadecimal Et Peintures

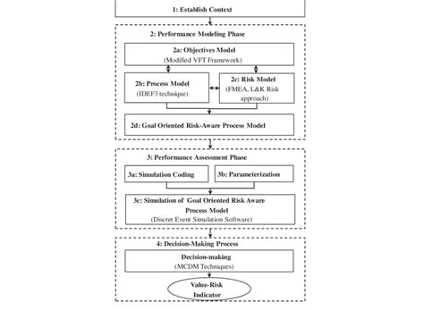
Exemple De Pms Analyse Des Dangers Et Points Critiques Pour Leur Maitrise De

Embaucher son premier PM, puis son deuxième, et rapidement se retrouver à devoir organiser ses équipes autour du developpement de son produit est un challenge important de la vie d’une boite.

Exemple de pms. Après avoir démissionné de son poste, il enseigne, il écrit quelques essais et articles etc Il se fait de plus en plus connaître, en annonçant la crise des années 30 position encore plus centrale Après de multiples ouvrages, il publie Théorie général de l’Emploi, de l’Intérêt et de la Monnaie (1936). PostMarket surveillance is an area of emerging concern around the world Not just a procedure for PMS, but an actual productspecific plan for gathering postproduction data about your product or product family Product registries, the anticipated launch of Eudamed, and the implementation of UDI regulations are part of this industrywide movement. COVID19 Protocoles HCR (hôtels, cafés, restaurants, campings, villages clubs) (6) COVID19 Fiches métiers Restauration.

FMS Model offers a wide assortment of top quality RC planes in popular scale configurations including Warbirds, Trainers, Gliders, EDF Jets, Civil Aircraft, 3D Aerobatic, and Biplanes FMS, short for Famous Model Shenzhen China is best known for their 1400mm P51 mustang which is currently in its 8th generation and available in several different historically accurate color schemes,fast. ETAP Network Project Modeling & Management (NetPM™) provides a platform for collaborative engineering using smart management tools to shorten a power system modeling and study from months to weeks NetPM provides better and faster project delivery by information sharing between multiple engineering disciplines with opposing requirements, such as planning, protection, safety, stability, and. Consultez la traduction allemandanglais de PMS dans le dictionnaire PONS qui inclut un entraîneur de vocabulaire, les tableaux de conjugaison et les prononciations.

30 sept Découvrez le tableau "PMS" de Issam BARAKATE sur Voir plus d'idées sur le thème modèle présentation powerpoint, modèle powerpoint gratuit, modèles de powerpoint. OKR stands for Objectives and Key Results This management methodology spread quickly among companies after Google started using it in 1999 Some say that it was so successful that the company started to grow dizzyingly from this period. Exemple de nikoniko utilisé dans le cadre d'un projet agilesvg 640 × 480;.

Après avoir démissionné de son poste, il enseigne, il écrit quelques essais et articles etc Il se fait de plus en plus connaître, en annonçant la crise des années 30 position encore plus centrale Après de multiples ouvrages, il publie Théorie général de l’Emploi, de l’Intérêt et de la Monnaie (1936). Enjeux de l’application des bonnes pratiques d’hygiène (BPH) et de la maîtrise des risques sanitaires appliquées à l’entreprise · Rappel des textes et obligations règlementaires · Impact sur l’image de marque de l’entreprise lors de défaillances Définir, mettre en place et appliquer son PMS. Ce travail a été centré sur l'exemple des affections du système nerveux dont l'exemple de l'AVC Une partie du diaporama est consacrée à la CM08.

Know how effectively PMs & projects are performing with project management KPIs KPIs such as Earned Value(EV), Schedule Performance Index (SPI), cost variance (CV), CPI, % completion, PV etc are referred to avoid a guesswork and arbitrary actions to ensure project success. Cover Letter Tips for Hotel and Hospitality It s very challenging when you find yourself in need of another job Whether it is because of being laid off, fired or phased out of a position, it s not easy to put yourself out there again after being let go. In most cases, PMS systems already exist to meet internal company needs, as an integrated part of a manufacturers quality system, and/or to meet the requirements of third parties In the absence of an approved quality system (see MDD annex IV/3 VII/4 and IVDD annex III5) the manufacturer is still required to have an effective PMS system in.

Généale de la Santé, Diection Généale de la oncuence, onsommation et Répession des Faudes, d’application olontaie, ui fait office également de base au Plan de Maît ise Sanitaie (PMS), ui alide des pocédés de fabication notamment au taes de tests de ieillissement ainsi ue la duée de ie de cetains p oduits. This paper examines the interplay between national cultural dimensions and the design, enactment, and experience of a Western model of a performance management system (PMS) in a non‐Western setting Data from four organizations in Pakistan indicate that domestic organizations are designing their PMSs in accordance with Western practices. Consultez la traduction allemandanglais de PMS dans le dictionnaire PONS qui inclut un entraîneur de vocabulaire, les tableaux de conjugaison et les prononciations.

Exemple de description de l’utilisation prévue du produit Les huîtres vivantes (Crassostrea gigas) sont vendues dans les restaurants, transportées dans des camions réfrigérés, entreposées à des températures comprises entre 5 et 10 °C et servies vivantes aux consommateurs. Las tintas de mezclado son suministrables en calidad no tóxica Las recetas a continuación representan proposiciones sin garantia para mezclar de nuevo tonos de color según las muestras PMSc, HKS y RAL Los tonos de color así preparados deberán ser siempre comparados con las muestras correspondientes de las tonos. 7 KB Ficha scrumjpg 2,479 × 1,622;.

Hello everyone, It's been two years now I'm using Scrum in a few projects, and currently taking a leap forward to promote and implement it in my organization For that matter, I plan to follow a PSPO course and pass the PSM II exam soon, so I have a few questions regarding the last one How many questions are there in the PSM II exam?. Le concept de PMS et ses conséquences Liens avec les exigences des référentiels Qualité (ISO 200, IFS, BRC) Élaboration et surveillance du PMS Étapes ET contenu afin de répondre aux exigences réglementaires État des lieux Planification du projet Les 3 composantes du plan de maîtrise sanitaire Bonnes pratiques d’hygiène. Exemple de code Résumé Creates a higherresolution multiband image by fusing a lowerresolution multispectral image and a higherresolution panchromatic image Discussion For more information about how this function works, see the Pansharpenraster function.

Évaluation de la pépinière 5 En expliquant les quatre catégories, inscrivezles en tête des colonnes, en haut de la page Laissez suffisamment de place pour insérer les principaux points soulevés lors de la discussion, comme l'indique l'exemple de la page précédente. Le modèle keynésien, la fonction d'épargne. Author’s Bio Snigdha Patel An avid reader, eclectic writer, blogger, and content writer by profession at REVE Chat, Snigdha Patel endeavors assiduously to understand complex support channels and provide information regarding them through comprehensive blog posts.

L'onglet "planning" du compte est toujours affiché et modifiable à la différence de AvailPro/DEdge par exemple Les PMS envoient des infos de stocks qui seront prises en compte dans elloha , et ils sont aussi en mesure de récupérer des infos de stock depuis elloha. PostMarket surveillance is an area of emerging concern around the world Not just a procedure for PMS, but an actual productspecific plan for gathering postproduction data about your product or product family Product registries, the anticipated launch of Eudamed, and the implementation of UDI regulations are part of this industrywide movement. Read somewhere it was about 50 questions with 40% as.

Le plan de maîtrise sanitaire (PMS) Le plan de maîtrise sanitaire outil mis en place par les professionnels pour atteindre les objectifs de sécurité des aliments définis dans les règlements décrit les mesures prises par l’établissement pour assurer l’hygiène et la sécurité sanitaire de ses productions visàvis des dangers. Know how effectively PMs & projects are performing with project management KPIs KPIs such as Earned Value(EV), Schedule Performance Index (SPI), cost variance (CV), CPI, % completion, PV etc are referred to avoid a guesswork and arbitrary actions to ensure project success. Exemple de description de l’utilisation prévue du produit Les huîtres vivantes (Crassostrea gigas) sont vendues dans les restaurants, transportées dans des camions réfrigérés, entreposées à des températures comprises entre 5 et 10 °C et servies vivantes aux consommateurs.

A written confirmation states the intent of both parties and confirms important points of agreement like name, arrival departure date, number of guest staying, room rate, type of room booked, number of rooms, pick up details, details of deposit made, package details etc A confirmed reservation may be either guaranteed or nonguaranteed Details on the confirmation letter are retrieved from. Enjeux de l’application des bonnes pratiques d’hygiène (BPH) et de la maîtrise des risques sanitaires appliquées à l’entreprise · Rappel des textes et obligations règlementaires · Impact sur l’image de marque de l’entreprise lors de défaillances Définir, mettre en place et appliquer son PMS. EXEMPLE Prénom Jack et Jane Nom de famille Anderson Vous pouvez ajouter une adresse courriel additionnelle Si votre conjoit(e) et vous avez une adresse et/ou un nom de famille différents, veuillez compléter deux formulaires distincts Veuillez noter les noms de pays sont indiqués en anglais.

Exemple degré de soutien de haut niveau et le risque de gagner ou de perdre en raison de caractéristiques afin de classer les entreprises en trois différents niveaux de maturité PMS. PMS 02/05/15ChalPhil Description des activités de l'entreprise Procédés de fabrication Description Exemples Produits crus servis froids. The CMYK color model (also known as process color, or four color) is a subtractive color model, based on the CMY color model, used in color printing, and is also used to describe the printing process itself CMYK refers to the four ink plates used in some color printing cyan, magenta, yellow, and key (black) The CMYK model works by partially or entirely masking colors on a lighter, usually.

Téléchargement PMS HACCP COMPLET 56 Fiches modifiables Plan de Maîtrise Sanitaire (1);. Le modèle keynésien, la fonction d'épargne. Find and compare top Hospitality Property Management software on Capterra, with our free and interactive tool Quickly browse through hundreds of Hospitality Property Management tools and systems and narrow down your top choices Filter by popular features, pricing options, number of users, and read reviews from real users and find a tool that fits your needs.

654 KB Họp Scrum hàng ngày jpg 1,650 × 1,113;. Exemples Option de forfaitisation sur du taux variable (passage à taux fixe) Option de remboursement anticipé sur un prêt Options sur les PEL et CEL versements libres, prorogation, profil de l'emprunt Option de rachat d'un contrat d'assurance vie 26 23 Le risque de positionnement concurrentiel. This paper examines the interplay between national cultural dimensions and the design, enactment, and experience of a Western model of a performance management system (PMS) in a non‐Western setting Data from four organizations in Pakistan indicate that domestic organizations are designing their PMSs in accordance with Western practices.

PMS n noun Refers to person, place, thing, quality, etc initialism (premenstrual syndrome) (Médecine) syndrome prémenstruel nm nom masculin s'utilise avec les articles "le", "l'" (devant une voyelle ou un h muet), "un" Ex garçon nm > On dira " le garçon" ou " un garçon" The woman stayed home sick with PMS. DEFINITION OF PMS Fowler (1990) defines performance management as “…the organisation of work to achieve the best possible results From this simple viewpoint, performance management is not a system or technique, it is the totality of the daytoday activities of all managers”. 59 PMS Integration If PMS integration is selected, the PMS vendor name is required fscoca 5 9 Intégration PM S S i Intégration P MS es t sélectionné, le nom du fourniss eu r PMS e st nécessaire.

Vue d’ensemble de projet Smart park Il existe trois composants de cette application Parking Management Server (PMS) surveille tous les espaces de stationnement et gère le comptage et la facturation pour tous les utilisateurs Plate forme matérielle IoT relie les places de stationnement à PMS et détecte également la présence ou. In probability theory, a Markov model is a stochastic model used to model randomly changing systems It is assumed that future states depend only on the current state, not on the events that occurred before it (that is, it assumes the Markov property)Generally, this assumption enables reasoning and computation with the model that would otherwise be intractable. Protel Air Cloud native hotel PMS system Broaden your global reach, support your regional requirements and minimize IT overhead READ MORE protel Air is a cloud native, fully internationalized, enterprise property management system for hotels and accommodation businesses, from small independents through to global hotel groups It provides the sophistication to manage even the most demanding.

De la gestion des produits non conformes et de la traçabilité Si vous le souhaitez, je détaille dans cet article chacun de ces points Mais revenons au PMS Pour chcun de ces points, ce plan de maitrise sanitaire est constitué de nombreux documents Voyons lesquels Le plan de maîtrise sanitaire comprend 1. Banquet Event Order – 2 Column F&B (SAMPLE_BEO_2COLUMN_FBREP with REP_BEO_2COLUMNFMX) This is a comprehensive document that contains all vital information about the catering portion of a business block broken down into events and resources. Hello everyone, It's been two years now I'm using Scrum in a few projects, and currently taking a leap forward to promote and implement it in my organization For that matter, I plan to follow a PSPO course and pass the PSM II exam soon, so I have a few questions regarding the last one How many questions are there in the PSM II exam?.

Buy now from the Pantone official website hundreds of color tools in stock for graphic design, print, fashion, textiles, and home Pantone provides a universal language of color that enables colorcritical decisions for designers, brands, and manufacturers. Pour changer une pièce BOSCH PMS 400 PE, les vues explosées et la liste des pièces détachées permettent de visualiser tous les composants et le cas échéant de commander la pièce défectueuse Les schémas internes BOSCH PMS 400 PE sont des informations réservées à des personnes possédant des bases en éléctronique et électricité. Exemple degré de soutien de haut niveau et le risque de gagner ou de perdre en raison de caractéristiques afin de classer les entreprises en trois différents niveaux de maturité PMS.

FMS Model offers a wide assortment of top quality RC planes in popular scale configurations including Warbirds, Trainers, Gliders, EDF Jets, Civil Aircraft, 3D Aerobatic, and Biplanes FMS, short for Famous Model Shenzhen China is best known for their 1400mm P51 mustang which is currently in its 8th generation and available in several different historically accurate color schemes,fast. PMS requirements outlined in the directives require a manufacturer to notify the competent authorities of serious devicerelated events, known as ‘incidents’ immediately upon learning of them1,2,3 This implies that during the postproduction phase, manufacturers must have an established system for vigilance that is appropriate for gaining. Le Plan de Maîtrise Sanitaire (PMS) est un document obligatoire pour tous les établissements détenant, préparant et distribuant des denrées alimentaires Il décrit les mesures prises par l’établissement pour assurer l’hygiène et la sécurité sanitaire de ses productions.

Le Plan de Maîtrise Sanitaire (PMS) est un document obligatoire pour tous les établissements détenant, préparant et distribuant des denrées alimentaires Il décrit les mesures prises par l’établissement pour assurer l’hygiène et la sécurité sanitaire de ses productions. MHCPMS Transfer data Actors Medical receptionist, patient records system (PRS) Description A receptionist may transfer data from the MHCPMS to a general patient record database that is maintained by a health authority The information transferred may either be updated personal information (address, phone. Ce travail a été centré sur l'exemple des affections du système nerveux dont l'exemple de l'AVC Une partie du diaporama est consacrée à la CM08.

Le Plan de Maitrise Sanitaire (PMS) permet de respecter ces exigences réglementaires Il est obligatoire pour tous les établissements manipulant des denrées alimentaires même s’ils ne sont pas soumis à agrément. A written confirmation states the intent of both parties and confirms important points of agreement like name, arrival departure date, number of guest staying, room rate, type of room booked, number of rooms, pick up details, details of deposit made, package details etc A confirmed reservation may be either guaranteed or nonguaranteed Details on the confirmation letter are retrieved from. Read somewhere it was about 50 questions with 40% as.

Téléchargement PMS HACCP Fiche à l'unité modifiable Plan de Maîtrise Sanitaire hygiène alimentaire (55);. Find and compare top Hospitality Property Management software on Capterra, with our free and interactive tool Quickly browse through hundreds of Hospitality Property Management tools and systems and narrow down your top choices Filter by popular features, pricing options, number of users, and read reviews from real users and find a tool that fits your needs.

Modele Plan De Maitrise Sanitaire Region Paca V0515 Analyse Des Dangers Et Points Critiques Pour Leur Maitrise Nourritures

Pms

Pms Tms Partner Reservit

Exemple De Charte Graphique Usf

Exemple De Charte Graphique Complet

Envie De Changer De Pms Besoin D Aide Pour Completer Le Puzzle De Votre Technologie Tendancehotellerie

Exemple De Pms Analyse Des Dangers Et Points Critiques Pour Leur Maitrise De

Pantone 5575 C Pantone Color Pms Hex Pantone Colour Palettes Pantone Green Pantone Blue

Le Plan De Maitrise Sanitaire Pms Sanipousse

Pms Plan Download A Free Pms Plan Template Medical Device Academy

Exemple De Pms

Envie De Changer De Pms Besoin D Aide Pour Completer Le Puzzle De Votre Technologie Tendancehotellerie

Pantone Pms Pastel 91 Eadfd0 Schemas De Couleurs Hexadecimal Et Peintures

Connaitre La Composition D Un Plan De Maitrise Sanitaire Pms

Pms Zak Logiciel De Gestion Pour Hotels Et Logements Touristiques Wubook

Franck R Installer Configurer Plex Media Server Sous Windows Http T Co 5narhugh0z Configurer Plex Tips Itconnect Fr Http T Co Dzmpnxevdp

Pms Ou Plan Educatif De Symptome D Illustration De Vecteur De Syndrome Premenstruel Illustration De Vecteur Illustration Du Syndrome Illustration

18 Saint Peter The Apostle Sunday Poster Pontifical Mission Societies Philippines

Pantone Pms 614 E8e0ba Schemas De Couleurs Hexadecimal Et Peintures

Fiche Pms Haccp I3 Affichage Ordre De Tranchage

Identification Des Modules A Haut Impact Environnemental Ou Haut Prix Download Scientific Diagram

Exemple De Pms Analyse Des Dangers Et Points Critiques Pour Leur Maitrise De

Poker Management System Pms Academy Facebook

Exemple De Calcul D Un Reseau D Eau Potable Cours Assainissement Urbain

Tounecef Pms Tunis Tunisia Facebook

Formation Hygiene Et Securite En Restauration Collective Ppt Telecharger

Best 10 Property Management Systems 21 Find Hotel Pms Reviews Pricing Buying Guide

Centre Pms Libre Mouscron 2 Photos Facebook

Hospitality Pms And Pos Integrations Oracle Canada

Mohno Pumps Ftf Pms Della Toffola Group Pdf Catalogs Technical Documentation Brochure

Harness Lifting Stowage Training Pms 2600 Expertise

Pms Zak Logiciel De Gestion Pour Hotels Et Logements Touristiques Wubook

Pms Industrie Innove Pour L Arrimage Sur Vehicules

Dose Adjustments For Cyp2d6 Pms And Ems For Tricyclic Antidepressant Download Scientific Diagram

Pantone Pms P 52 8 C D52a3f Schemas De Couleurs Hexadecimal Et Peintures

3 A Feminist Foucauldian Discourse Analysis Of Pms Download Table

Exemple De Charte Graphique Usf

Un Ceb Adapte Pour Les Dys Apeda Belgique

Pms Zak Logiciel De Gestion Pour Hotels Et Logements Touristiques Wubook

Pantone Pms 9061 C F2e9ea Schemas De Couleurs Hexadecimal Et Peintures

B Evolution Journaliere Du Potentiel Hydrique De Tige De La Syrah Download Scientific Diagram

Computer Science Research Papers Academia Edu

Filemaker Pro Calendar Template Filemaker Pro File Server Download App

Hygiene Alimentaire Le Plan De Maitrise Sanitaire Les Prerequis Et L Haccp Economie Gouv Fr

Carnegie Exemple De Charte Graphique

Technologie Hoteliere Le Pms Est Plus Slow And Quiet Que Fast And Furious Tendancehotellerie

Index Of Wp Content Uploads 18 03

Le Plan De Maitrise Sanitaire L Exemple Type A Suivre Stif

Quels Logiciels Choisir Pour Mon Hotel 1 2 Loungeup

Prestations Pms Realisation Conception Et Gestion De Parkings

Comment Creer Votre Plan De Maitrise Sanitaire En 15 Jours Grace A Ce Guide Eformation Hsaquality

La Commercialisation En Ligne

Formation Lda 16

Le Pms Instrument Essentiel Pour La Gestion D Un Hotel

Pantone Pms 9142 C E9e4c5 Schemas De Couleurs Hexadecimal Et Peintures

Pms Definitions Marketing

Figure 1 Bedside Clinical And Ultrasound Based Approaches To The Management Of Hemodynamic Instability Part I Focus On The Clinical Approach Continuing Professional Development Springerlink

Pms Louis Luc Dugot Pptx

Plan De Maitrise Sanitaire Pdf Telechargement Gratuit

Bowo Comment L Integration D Un Pms Property Management System Peut Augmenter Les Revenus De Votre Hotel

Pantone Pms 9181 C F4e3c9 Schemas De Couleurs Hexadecimal Et Peintures

Tounecef Pms Tunis Tunisia Facebook

Connaitre La Composition D Un Plan De Maitrise Sanitaire Pms

Pantone Pms 402 B0a699 Schemas De Couleurs Hexadecimal Et Peintures

Hospitality Pms And Pos Integrations Oracle Canada

Hospitality Pms And Pos Integrations Oracle Canada

Calameo Plan De Maitrise Sanitaire 09 10 14

Hygiene Alimentaire Le Plan De Maitrise Sanitaire Les Prerequis Et L Haccp Economie Gouv Fr

Pms Connectivity Reservit

7 Lettre De Motivation Ideas Teaching Business Inspirational Youtube Ielts Writing

Exemple De Pms Restaurant

Un Pms Ouvert Sur L Univers De La Distribution En Ligne Hospitality On

Collective Agreement Non Wage Labour Costs Assurance Maladie Complementaire Empresa Mutual Organization Png Clipart Area Collective

Centre Pms Libre Mouscron 2 Photos Facebook

Dossier Agrement Et Pms Rest Univ Beaulieu Etoile Rennes Calameo Downloader

Exemple De Charte Graphique Harvard

Pms Tms Partner Reservit

Exemple De Calcul D Un Reseau D Eau Potable Cours Assainissement Urbain

File Contre Exemple Rolle Svg Wikimedia Commons

Centre Pms Libre Mouscron 2 Photos Facebook

Dossier Agrement Et Pms Rest Univ Beaulieu Etoile Rennes Calameo Downloader

Instruction Technique A Venir Presentant Des Mesures De Flexibilite E

Le Plan De Maitrise Sanitaire Indispensable En Cas De Controle Lesprosdelapetiteenfance