santé et soins de santé

Charging System Warning Light

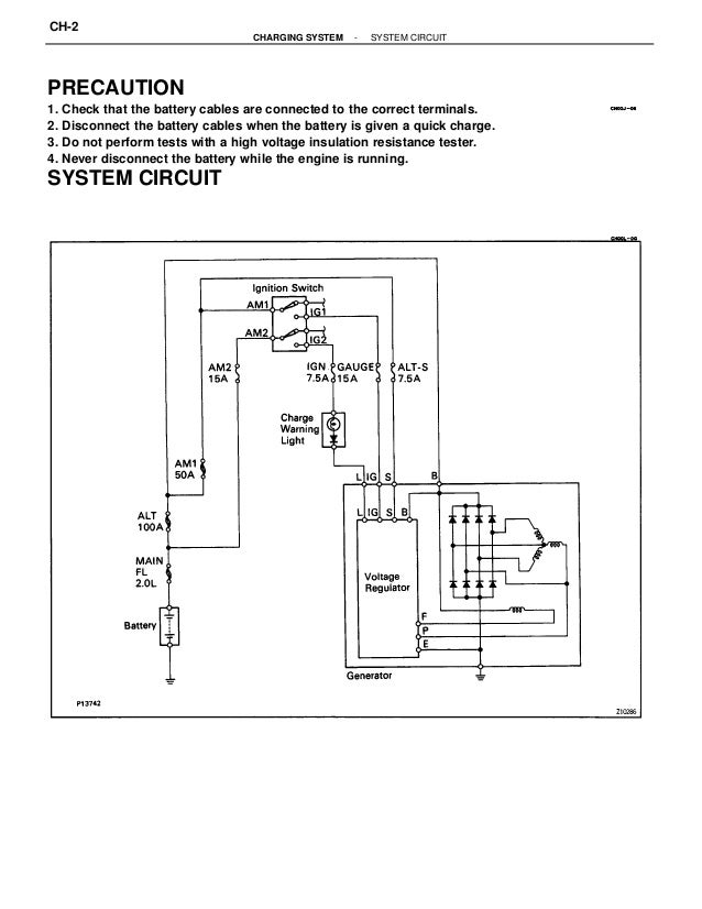
Toyota 4runner Charging System 1gr Fe Battery Charging Service Manual

Honda Accord Dashboard Light Guide Abington Pa Marty Sussman Honda

How Charging System Works 22re Yotatech Forums

Why Charging System Warning Light And Overheating Warning Light Of My Car Do Not Light Up Car Forums At Edmunds Com

Battery Warning Light When Key Is In On Position Tacoma World

Warning Lights Lixin Advanced Engine Management System And Diagnosis

Charging System Warning Light This warning light illuminates Once you set the ignition switch or Engine Start/Stop Button to the ON position It remains on until the engine is started When there is a malfunction with either the alternator or electrical charging system.

Charging system warning light. Diagnose and fix a service battery charging system message Service battery charging system message, generator light on, alternator light on, not charging, what does Service battery charging system mean?. Charging system light 10 Report;. It’ll pop on for a few seconds and then go out But if your battery light stays on, or if it comes on while you drive, you’ve got a situation.

Consult your Owner's Manual or Schedule Service with a nearby dealership. Charging System Warning Light This warning light illuminates Once you set the ignition switch or Engine Start/Stop Button to the ON position It remains on until the engine is started. ELECTRIC VEHICLE (EV) SYSTEM WARNING LIGHT The warning light will illuminate if there is a malfunction in the following systems • Traction motor and inverter system • Charge port or onboard charger • Liion battery system • Cooling system • Shift control system • Emergency shut off system is activated If the warning light illuminates, contact a NISSAN certified LEAF dealer.

Charging System Warning Light Immediately stop the vehicle in a safe place and contact your Toyota dealer Indicates a malfunction in the vehicle’s charging system Still have questions or concerns?. Have you heard any whining noises while turning the wheel?. Charging System Warning Indication/Warning Light If the warning light illuminates while driving, it indicates a malfunction of the alternator or of the charging system Drive to the side of the road and park off the rightofway Consult an expert repairer, we recommend an Authorised Mazda Repairer.

August but my oil light has not come on indicating a oil change is needed and I heard a noise but thought it was my breaks. Consult your Owner's Manual or Schedule Service with a nearby dealership. In the old days all cars has a generator and a voltage regulator Then car makers switch to an alternator and voltage regulator.

If the BMW battery warning light on the dashboard comes on while driving and iDrive displays a warning message, the charging system is not working properly The problem most likely is a bad alternator or battery, but the fault may be something other than these two components. Dianne answered about a year ago The battery light on the dash came on while driving As I drove the short distance home, it went off and came back on a few. Charging system warning light, electric power steering, low engine oil, malfunction lamp Mechanic's Assistant When was the fluid last checked?.

See how you can fix the battery warning light on dashboard with this five problem that you can look at While the battery light might seem like there is a ba. If you have a check charging system light, that means that your ECU has determined one of these components is not performing properly The charging system in vehicles hasn’t changed that much in the last 50 years The engine turns the alternator, which charges the battery Somewhere in this process, there has been a failure. Charging system warning light, electric power steering, low engine oil, malfunction lamp Mechanic's Assistant When was the fluid last checked?.

If something is not right with the charging system, you'll see a warning light The warning light may be labeled "Gen", "Bat" or "Alt" If this warning lamp lights up while the engine is running, it means that there is a problem in the charging system, usually that the battery has gone bad or the alternator has stopped working. If the air isn't purged from the battery cooling system, the air 'burps' out, and the level drops triggering a low coolant sensor which shuts down the HV system This is to protect the battery As posted above, somewhere, you're either loosing battery coolant, air is burping out, or there is a fluke in the detection system. August but my oil light has not come on indicating a oil change is needed and I heard a noise but thought it was my breaks.

Have you heard any whining noises while turning the wheel?. Service battery charging system message Diagnose and fix a service battery charging system message Service battery charging system message, generator light on, alternator light on, not charging, what does Service battery charging system mean?. Asked by Dianne Jul 01, 19 at 1044 AM about the 07 Dodge Grand Caravan SXT FWD Question type Maintenance & Repair 1 Answer 10 Report;.

The charging system warning light comes on when there is a problem with the electrical charging system or when the ignition switch is turned on with the engine not running If the light comes on while driving, stop and check to see if the alternator belt is loose or broken To check the belt tension, push on the. Every vehicle has a charging system warning light — it’s the dashboard warning light that (usually) has a battery symbol on it, or it might say “BATT,” “ALT” or “CHG” You should see it every time you start your car;. Charging System Warning Light Immediately stop the vehicle in a safe place and contact your Toyota dealer Indicates a malfunction in the vehicle’s charging system.

Check when the light is again lit, and if there is no voltage/signal being sent back to the PCM then the internal voltage regular is probably bad or going out Since the light goes on and off, have the codes read at Autozone and see if there are any stored concerning the charging system Hope the video helps. Hyundai charging system warning light If this light comes on when you’re driving it indicates that the alternator is not making electricity and your car is running off battery power This could be due to a problem with your car’s electrical system and it could have several causes, such as a faulty alternator, faulty battery, bad electrical connection or damaged cabling. If the light turns off after the 2 seconds, that means the charging system is functioning properly If the indicator light remains on, or turns off and on randomly while the vehicle is running, there’s a problem with the charging system An alternative problem might exist if the charging light never came on at all during this simple test.

Assuming that the voltmeter is correct and reads 135v to 145v, what. August but my oil light has not come on indicating a oil change is needed and I heard a noise but thought it was my breaks. The battery light is on but the voltmeter says 135 to 145 volts depending on the engine revs When engine is off the volts drop to about 12 My mechanic says that the alternator must be charging but why is the light on?.

August but my oil light has not come on indicating a oil change is needed and I heard a noise but thought it was my breaks. Have you heard any whining noises while turning the wheel?. In the old days all cars has a generator and a voltage regulator.

Charging System Trouble Lights One of the original idiot lights, the symbol to the left indicates a serious Charging System problem The vehicle should be brought to a complete stop as quickly as possible or the vehicle may simply stop running. If the lights noticeably brighten, the charging system is working and the problem lies in the warning light circuit One possibility is that the warning light wire is being earthed somewhere along its length Check this by turning on the ignition and disconnecting the warning light wire If the warning light stays on, the wire is earthing somewhere. In addition to all these charging modes, the old ALT/BAT light has been changed to “Service Battery Charging System” The indicator will illuminate under these conditions • The ECM detects generator output is less than 11 volts or greater than 16 • The BCM determines system voltage is less than 11 volts or greater than 16 volts.

Charging System Trouble Lights One of the original idiot lights, the symbol to the left indicates a serious Charging System problem The vehicle should be brought to a complete stop as quickly as possible or the vehicle may simply stop running. Engine oil warning light Charging System In most cases, a battery looking sign will mean you either have a bad battery, or you have a bad alternator Autozone offers a free diagnosis A battery with lowcharge will register a DTC, so they'll be able to see what's wrong with their OBD2 scanners Figure 5 Charging system warning light Master Warning. The Chrysler Town and Country battery warning light comes on initially with the ignition switched on to show the status of the charging system If the battery warning light stays on or comes on when driving, it means there's a fault with the charging system and the battery is not being charged.

Charging system warning indicator 4 Answers I have a 11 ford edge Last night the check charging system indicator came on Shortly there after it died I had someone charge the battery and the charge held for a short distance and the car. Have you heard any whining noises while turning the wheel?. Charging system warning light, electric power steering, low engine oil, malfunction lamp Mechanic's Assistant When was the fluid last checked?.

If something is not right with the charging system, you'll see a warning light The warning light may be labeled "Gen", "Bat" or "Alt" If this warning lamp lights up while the engine is running, it means that there is a problem in the charging system, usually that the battery has gone bad or the alternator has stopped working. Charging system warning light Stop the vehicle immediatelyThe following warning indicates the possibility of damage to the vehicle that may lead to an accident Immediately stop the vehicle in a safe place and contact your Toyota dealerIndicates a malfunction in the vehicle’s charging system. In some cases they may also need to reprogram HPCM2 to get the warning message out and reinstate the charging system If the dealer tech does a search for that message he will most certainly locate the bulletin # for the "revised" battery coolant level which is right up to the top of the black label on the tank.

Charging system warning light, electric power steering, low engine oil, malfunction lamp Mechanic's Assistant When was the fluid last checked?. August but my oil light has not come on indicating a oil change is needed and I heard a noise but thought it was my breaks. Hi guys, I noticed over the last couple of days I've been getting the battery indication light and charging system malfunction warning on the infotainment system When I back off the gas it goes away I've been able to trigger it when the rpm get's near and above 3000rpm, driving or stopped.

The following are some parts that can cause the battery/check charging system warning light to come on Alternator issues Many times, the alternator is the root of the problem when your check charging system/battery light comes on Have your mechanic test the voltage coming from your alternator. If the battery warning light stays on or comes on when driving, it means there's a fault with the charging system and the battery is not being charged When the battery becomes exhausted of charge, the engine may stop. My charging system light is on after changing my battery and altenator on a 07 mazda 3 with a 23 liter Serp belt is on correctly Not sure why the light is on and what I am reading on the net is that it might be a voltage regulator.

Your car battery or charging light on the dashboard of your car indicates a malfunction in the battery circuits or bad charging of the car battery The light provides you with a warning when the charging system is not charging the battery with the right voltage However, the warning happens due to many reasons, so it is vital to take the proper steps to know the actual issue before trying to replace any components. I have a 10 Range Rover Vogue While driving last week the dashboard came up with a Charging System Fault I was in the fast lane of a motorway/hiway As I was looking at the fault, suddenly my dashboard went crazy with a series of gearbox fault, suspension fault and other flashing errors and then the power steering died. Charging system warning light, electric power steering, low engine oil, malfunction lamp Mechanic's Assistant When was the fluid last checked?.

Have you heard any whining noises while turning the wheel?. If something is not right with the charging system, you'll see a warning light The warning light may be labeled "Gen", "Bat" or "Alt" If this warning lamp lights up while the engine is running, it means that there is a problem in the charging system, usually that the battery has gone bad or the alternator has stopped working. Charging System Warning Light Immediately stop the vehicle in a safe place and contact your Toyota dealer Indicates a malfunction in the vehicle’s charging system Still have questions or concerns?.

If the battery warning light stays on or comes on when driving, it means there's a fault with the charging system and the battery is not being charged When the battery becomes exhausted of charge, the engine may stop. When the voltage falls below 125 down to 115 volts the battery light illuminates to alert the owner to a low charge conditionor so the vehicle thinks There are two reasons the light can come on – low voltage in the system OR the circuit that checks the charging voltage has failed This 05 Toyota Highlander had the latter. If you have a check charging system light, that means that your ECU has determined one of these components is not performing properly The charging system in vehicles hasn’t changed that much in the last 50 years The engine turns the alternator, which charges the battery Somewhere in this process, there has been a failure.

See how you can fix the battery warning light on dashboard with this five problem that you can look at While the battery light might seem like there is a ba. The charging system warning light should show for a few seconds when you start the car, but if the battery light shows while you’re driving the vehicle, that light signals a problem Among other.

Charging System

How To React If Your Battery Light Is On Yourmechanic Advice

Car Dashboard Warnings Lights Symbols Meaning Automobile Garage Technique

Chevrolet Dashboard Warning Lights H H Chevrolet Shippensburg Pa

Troubleshooting Alternator And Charging System Problems Axleaddict A Community Of Car Lovers Enthusiasts And Mechanics Sharing Our Auto Advice

If A Warning Light Turns On Or A Warning Buzzer Sounds Steps To Take In An Emergency When Trouble Arises Lexus Es 350 User Manual Lexus Es Lexus Manuals

Charging System Warning Light Leakage Edit Alternator Belt Snapped Off Team Bhp

Check Charging System Light Cause Meaning Champion Auto Parts

Alternator Warning Battery Battery Charging Battery Warning Charging Vehicle Charging System Warning Light Icon Download On Iconfinder

Alternator Conversion Kit Instructions Classic Vw Parts For Beetle Bus Ghia Thing Type 3

Charging System Service How Charging System Woks

Kia Dashboard Warning Light Guide

Understanding What Dashboard Warnings Mean Direct Line

The Alternator

Charging System Warning Light Explained Emanualonline Blog

Alternator Warning Battery Battery Charging Battery Warning Charging Vehicle Charging System Warning Light Icon Download On Iconfinder

Mazda 6 Service Manual Generator Inspection Charging System

How Well Do You Know Your Warning Lights

Pontiac Grand Prix Gtp Comp G Charging System Failure Youtube

13 Sonata Hybrid Limited Hybrid Warning Check Charging System Checklist Questions Hyundai Forums

06 08 Battery Only Light Comes On Sometimes After Starting Subaru Forester Owners Forum

Vehicle Warning Light Signs Stew Hansen Chrysler Dodge Jeep Ram Fiat

Dashboard Warning Light Guide

Mazda Cx 5 Owners Manual Warning Indicator Lights Instrument Cluster And Display

What S Wrong If My Battery Or Charging System Light Comes On Elite Auto Repair

Alternator No Charge No Christmas Warning Lights

Toyota Sienna Service Manual Charge Warning Light Comes On While Driving On Vehicle Inspection Charging System 2gr Fe Charging Engine

Charging System Warning Light Explained Emanualonline Blog

What To Do When Dashboard Battery Light Comes On Completely Firestone

Update Car Charging System Car Construction

Warning Light References Vehicle Maintenance Subaru Canada

Hyundai Starex H 1 00 07 By Tun Wai Win Issuu

Toyota Service Manual T Engine Page 11 02 100dpi Retro Jdm

Understanding Your Honda Car S Warning Lights Honda Engine Room

What Do The Dashboard Warning And Indicator Lights On Your Mazda Vehicle Mean Bob Baker Mazda

Charging System Warning Light Leakage Edit Alternator Belt Snapped Off Team Bhp

Charging System Tests

Escape City Com View Topic 03 Charging System Diagram

P3vhvp Kaccp7m

Toyota Rav4 Dashboard Light Guide Scranton Pa Toyota Of Scranton

Charging System Warning Light Explained Emanualonline Blog

Charging System Oil Pressure Engine Temperature Power Steering Warning Lights On Dodge Dart Forum

Lacue Chevrolet Buick This Light Means That Your Vehicle S Charging System Is Not Charging Properly It Could Mean That The Battery Is Short Of Power Or A Problem With The Alternator

Charging System Failure Light And Steering Wheel Won T Turn All Else Works It S Like It S Locked And Won T Unlock

16 Mazda Cx 5 Owner S Manual Mazda Usa

Toyota Maintenance Light Meanings Toyota Service Center Henderson

1

Sonata Hybrid Check Charging System Problem 2 Youtube

Mazda Cx 5 Service Repair Manual Charging System Warning Light Skyactiv G 2 0 Starting Charging

Charging System Warning Light Manualzz

3 Wire Alternator Wiring Diagrams Google Search With Images New Wiring Diagram Car Charging System Alternator Clic Alternator Car Alternator Toyota Corolla

Vehicle Warning Light Poster

Understanding Your Honda Car S Warning Lights Honda Engine Room

Battery Indicator Light Hagemeister Enterprises Inc Hei

Why Is The Battery Light On News Cars Com

What Does The Alternator Warning Light Battery Warning Light Mean Yourmechanic Advice

3

Vehicle Charging System Warning Light Red Volkswagen Uk

Battery Indicator Light Hagemeister Enterprises Inc Hei

Auto Mechanic Loveland Dashboard Lights That Shouldn T Be Ignored

Toyota Corolla Dashboard Symbols

The Warning Light On Meter Panel Blog Yamada Sharyo

04 Rx8 By Rx8 Antiforum Issuu

Charging System Warning Light Skyactiv G 2 5

5 Warning Lights You Should Never Ignore In Your Car Autoreportng

Mazda 6 Owners Manual Stop Vehicle In Safe Place Immediately If A Warning Light Turns On Or Flashes

Toyota Camry Stop The Vehicle Immediately If A Warning Light Turns On Or A Warning Buzzer Sounds Steps To Take In An Emergency When Trouble Arises

Check Charging System Light Cause Meaning Champion Auto Parts

Charging System Tests

Charging System Warning Light Explained Emanualonline Blog

Parts Avatar Ca Auto Performance Parts Warning Lights On Your Dashb

Warning Indicator Lights Driving Your Mazda Mazda Mx5 Owners Manual Mazda Mx 5 Mazda Manuals

1

Kia Picanto Warning Lights Symbols Best Reviews

Vw Golf 2 Jetta 2 5 1 Charging System Troubleshooting

What If The Battery Warning Light Is On

Do You Know Your Dashboard Symbols Car Advice Kenya Narvy Seal Motors Consultants

Toyota Rav4 Service Manual Precaution Charging System 2az Fe Charging

Facebook

Toyota Ch R Owners Manual Warning Lights And Indicators Instrument Cluster

Check Charging System Light Cause Meaning Champion Auto Parts

Toyota Prius Multi Information Display Gauges Meters And Service Reminder Indicators Operation Of Instruments Andcontrols

Q Tbn And9gcstbbxepyy1iiegzqn7qb Ndhyzxc Xw8wfu4ctuzchkjrh Rnj Usqp Cau

Dashboard Warning Lights Fitzgerald S Countryside Chrysler Jeep

Toyota Corrola Gli Twincam 1990 4 Age Engine Fitted Branches And Now The Check Engine Warning Light Is On The Car

Charging Kia Optima 08 2 G Owner S Manual 2 Pages

Vehicle Charging System Warning Light Red Volkswagen Uk

Sonata Hybrid Check Charging System Problem 3 Youtube

32 Chapter Charging System Technology 32 Chapter Charging System Technology Ppt Video Online Download

Reading Your Car Dashboard The Meaning Of 10 Common Symbols

What Do Toyota Dashboard Warning Lights Mean

What Your Car S Battery Warning Light Means

Charging Mitsubishi Outlander 10 2 G Owners Manual 714 Pages

Troubleshooting Alternator And Charging System Problems Axleaddict A Community Of Car Lovers Enthusiasts And Mechanics Sharing Our Auto Advice

Charging System Testing And Alternator Replacement Elston Automotive Pages

Chevy Charging System Wiring Wiring Diagram Use Girl Fine A Girl Fine A Barcacciarredi It

P3vhvp Kaccp7m

Toyota Yaris Dashboard Warning Lights Butler Toyota Of Macon Ga